Home -> Magazines -> Issues -> Articles in this issue -> View
Roland RSP550 | |
Article from Sound On Sound, July 1991 | |
Yet another sleek, black, 16-bit multi effects unit? Or does the new Roland RSP550 have something more to offer? Kendall Wrightson has the answer.

The RSP550 ships with 39 non-volatile preset programs (161 to 199 of the 199 internal locations), one per algorithm. Of the user programmable memories, 1 to 100 provide shining examples of the 550's processing prowess, whilst 101 to 160 are duplicates of the first 60 with the direct level set to zero, ready for connection to a desk auxiliary. A rather neat feature is the ability to recover the factory programs, or a user specified range thereof, by holding down a combination of front panel buttons during power up.
With no slots for RAM cards, the only way to save user programs externally is to initiate a MIDI transfer to a sequencer or data recorder. Depending on the 550's popularity, it shouldn't be long before librarian/editor applications appear, though some generic librarians like Opcode's Galaxy (for the Mac) support new devices without the need for extra programming.
Apart from MIDI In, Out and Thru sockets, all RSP550 rear panel connections are on quarter-inch mono jacks. An additional set of balanced XLRs would have been appropriate, since both inputs and outputs are independently switchable between -20 and +4dBm. Another slight niggle is the lack of a mains Eurosocket, which makes it impossible to fit a longer mains cable without internal surgery.
In contrast with some other recent Roland releases, the 550's front panel is not a forest of ergonomic knobs and switches, but a spartan affair with one rotary control (for input level), 12 buttons and a power switch. The rotary is of the dual concentric variety, providing a maximum gain of +6dB. The left and right pots are not physically linked, so it's necessary to adjust both to ensure identical channel settings.
To the right of the input level control is a 12-segment stereo LED meter, software switchable to display input or output level. Its current status is indicated by two small LEDs. Like all digital devices, clipping produces audible glitches, so a view of output levels is critical when monitoring material with any feedback, or when building up textures using long reverb times. Unfortunately, toggling the meter status is not a straightforward affair, since it's necessary to enter the System editor, find the right page, and then flip the value.
A large 3-digit LCD indicates the current program number, (1 to 199), while a 2-line, 16-character backlit LCD displays the name of the current program and its associated algorithm.
To the left of the display section are four buttons providing program and page up/down and increment/decrement facilities. The remaining group of eight keys offers access to Edit, System, and Control parameters, while a Bypass button provides selectable Bypass, Mute and DSP Thru functions. With no dedicated output level control, the mute function is useful for, well, muting. I can't quite see the point of the DSP thru facility, other than to compare the RSP550's output with the input signal and sing its praises.
On power up, the 550 runs through an eight second diagnostic routine, during which the output is muted (by a relay) to save loudspeakers from the from the maximum level click which is clearly visible on the level meter. Listening to the 550 outputs with maximum input gain set, I'm pleased to report that the noise floor is inaudible at normal auxiliary return levels, with the rear panel switches in either -20dBm or +4dBm positions. I could just about detect a low level hum on the Space Chorus algorithm, and a swirling sound on the Multi Phaser, but the RSP550 must be one of the quietest signal processors this side of £1000.
Programs are selected using up/down keys, a system which is entirely unsuitable for a machine with 199 memories — a speed sensitive infinite rotary pot, like the one on the Emu Proteus, would have been more appropriate. You can speed up the scrolling by pressing the opposite program/page key — ie. if you are incrementing programs, you have to hold down decrement as well — but it takes a little getting used to.
Having found the program you want, the new algorithm is not actually recalled until the up/down button(s) are released. Unlike on some devices, loading a new program does not result in glitches or other extraneous sounds — the transition is very smooth.
Editing is very straightforward. Algorithms with single effects have a page for each parameter, whereas programs with more than one effect have an additional page where individual effects can be toggled on and off. When you are editing values, the inc/dec buttons employ the same fast scrolling system as the program selection keys.
The rear panel has two jacks for program up/down selection using momentary footswitches. To make the facility more practical for a live set-up, program selection can be limited to an 'active range'. Programs can also be selected via MIDI, but with 199 programs and only 128 MIDI patches, Roland have wisely opted to provide a mapping facility, whereby patch change number 'x' can recall program 'y'.
Up to four effect parameters per program can be dynamically controlled via MIDI, and unlike on some units, the modulation is a doddle to set up. Control patches, including maximum and minimum control settings per parameter, are stored as part of a program.
The following are available as MIDI modulation control sources: pitch bend; aftertouch; note number; velocity; and MIDI controllers 0 to 120. One further source is a front panel button labelled Control, which has a rear panel footswitch equivalent. As an on/off function, the Control switch is useful with any function offering two states. Switching produces no output clicks, and in fact most parameter changes are totally smooth, unlike some units costing considerably more.
By using MIDI control, the 550 can be coaxed into producing a whole host of dynamic effects of the type adored by remix artists, and synth programmers could even treat the 550's facilities as part of a synth patch rather than as an output stage bolt-on.
There are three Hall reverb algorithms. Hall 1 is of the large variety, Hall 2 is optimised for vocals, and Hall 3 simulates a hall with walls made of more reflective materials.
The reverberation algorithms are of the ubiquitous Pre-delay/Early Reflection/Reverb variety, though early reflections and reverb have independent Pre-delay parameters (450ms max). However, despite this separate level control, early reflections are affected by the overall Reverb Level. The Diffusion parameter affects the reverberant sound rather than early reflections, and its effect is to widen the reverb's stereo field — most unusual.
The reverberation itself offers High Frequency Damping with a cut of up to -9dB at selectable frequencies of 2, 2.5, 3.2, 4, 5, 6.3, 8 and 10Khz. A High Frequency decay can clearly be heard at longer reverberation times, though no control is available to affect it. HF damping is essential for creating realistic environments, and the Cathedral, Arena and Church presets make good use of it.
Comparing the RSP550 with cheaper units, the 550 offers a more natural sound and a greater density of reverb. The longer the reverb time, the more apparent this depth becomes. At the maximum reverb time of 480 seconds — which is effectively a 'freeze' setting — HF decay ensures a tonal change which really holds the attention.
All three Hall algorithms include a 3-band EQ section which provides 12dB of cut or gain. Low and High frequencies are fixed at 200Hz and 8kHz respectively, but Mid can be set to one of 15 frequencies in the range 250Hz to 6.3kHz. Curiously, early reflections are unaffected by the EQ section.
The Hall 1 algorithm also includes a Gate section which provides adjustable Threshold, Hold, Attack and Release Times, plus a Leftover Level paremeter — this sets the amount of reverberant sound allowed through when the gate is closed. These parameters are totally different from those in the dedicated Gate Reverb algorithms, and with careful use of the threshold parameter, some very unusual effects can be produced, though only one preset (Hall & Gate) actually demonstrates this potential.
MIDI controllable parameters include Gate and EQ on/off, and MIDI also allows smooth control of EQ Levels (High, Middle, Low and Total). Reverb Time and Level can also be controlled, as can the Gate Hold Time. There's massive scope for performance effects here, and with a MIDI sequencer, automated rhythmical ideas like Gate Hold Time changing every quarter note spring to mind.
The Modulation Reverb algorithm includes an LFO which introduces a subtle movement into the reverberant sound at one extreme (preset 33, Heaven) or a strident combination of phasing and panning at the other (preset 34, Hell). The LFO produces triangular or sine waveforms, and offers the usual Depth and Speed controls, while a Cross Mix control determines how the panning operates. The phasing quality can be reduced by adding HF damping. Heaven is my personal favourite preset, making a warm, ambient stereo field from a clean electric guitar.
Plates 1 and 2 include an EQ and/or Gate section and all the parameters, including the control options, are the same as for the Hall algorithms. The main difference between the Plate and Hall is the lack of HF decay on the Plate. Industrial, Garage, and Plate & Gate offer good demonstrations of the possibilities of the Plate algorithms.
"Comparing the RSP550 with cheaper units, the 550 offers a more natural sound and a greater density of reverb. The longer the reverb time, the more apparent this depth becomes."
The Gate and Reverse Gate reverb algorithms offer a unique set of parameters. A mode control autopans the reverb sound from right to left, left to right, or not at all. Increasing the Gate Time changes the phase of the reverberant sound, which is rather odd. Increasing the Density introduces a more metallic quality to the sound, while Thickness controls the number of reverb echoes. At its minimum setting, Thickness makes the reverb sound like a random cluster of single echoes, which I found rather appealing.
An Accent Delay/Level parameter (200ms max) introduces a discrete echo after the reverberant sound cuts off, but by now we're in special effects territory. The reverse gate algorithm falls into this classification too, producing just the right effect for those times when you're asked to make a disembodied alien voice. Both algorithms contain an EQ section.
Of the two Room Simulation Algorithms, Room 2 is more suited to vocals and guitars and, to these ears, gives a much better impression of a confined space. Parameters and control are the same as for the Hall algorithms, including the switchable EQ and gate sections.
By increasing the reverb time to maximum, the properties of the Room reverb can be heard more clearly — there's no HF decay, and the reverb has a more cluster-like quality to it, almost like a looped sample but much smoother and not as flat sounding. It makes an interesting freeze effect. Some useful room examples are offered in the preset guises of Wood Floor, Club Stage and Metallic Room.
The Ambience algorithm produces a sound similar to that achieved when locating a microphone some distance from a source, and therefore sounds (properly) dull. There are only four ambience parameters: Pre-delay (up to 140ms), Early Reflection, Mix and Direct levels. For those of us not involved in TV and radio drama, the perceived brightness of the ambience effect can be increased by switching in an Edge Expander effect. This section sends the attack portion of the input to the extreme left and right. Sensitivity and Release Time controls are provided. The Edge Expander gives drum sounds extra punch, as demonstrated by the presets Drum Ambience, Jazz Club and especially Live Sound, a preset ideal for making low bandwidth drum samples spring to life.
The delay algorithms include a Simple (mono) Delay with feedback, a Stereo Delay with cross feedback, and a Tempo Delay offering fixed timing intervals with MIDI clock control and LFO modulation.
The 4 and 8-tap delays (up to 2.7s per tap) offer independent pan and feedback settings. On all Delay algorithms, an infinite repeat can be created by setting feedback to 100%. Beyond that — 120% is possible — it's speaker destruction time! All delay algorithms include an EQ section for good measure and, as you might expect, the 550's 21kHz bandwidth ensures a perfect delayed sound.
The three pitch shifter algorithms provide stereo, quad and band split algorithms. Each allows chromatic and fine pitch setting over a four octave range. Harmonising is glitch free, becoming metallic only at extreme intervals. By setting MIDI note number as a control source for the Chromatic parameter, you can generate chords from the stereo and quad algorithms. Preset 94, MIDI Note Chord, is set up to perform this very task, while 1 Note Arpeggio and Skip illustrate the pitch change and delay possibilities.
There are five chorus algorithms. The five stage Penta Chorus produces a wispy, phasey sort of chorus, while Space Chorus simulates a Roland Dimension D. The 4-Band and 2-Band Chorus algorithms split a signal into four frequency bands, whereupon a 125ms predelay and LFO chorus pan modulation are applied independently to each. The Stereo Chorus produces the widest stereo image, and an Ensemble algorithm offers the thickest sound.
The Multi-Phaser algorithm offers six modes, using from four to 12 stages. This, combined with the Resonance, Tremolo and Modulation Phase parameters, produces the best phasing sounds I've heard on any unit, analogue or digital. In particular check out Jet Phaser, in which harmonics are beautifully accented, and Jungle Phaser which adds random metallic tones. The lone Enhancement algorithm offers two completely independent effects, with a frequency control for each.
Of the two rotary speaker algorithms, one is intended to simulate an off-mike sound, and the other an on-mike sound. Horn Speed, Rotor Speed and Rise Time parameters are provided, with independent settings for Slow and Fast modes. Both algorithms contain an overdrive section with Gain and Drive parameters.
Say 'vocoder' to most people and they'll mutter something about Laurie Anderson's 'O Superman' or, if they want to show their age, 'Sparky The Magic Piano'.
A vocoder has two inputs: control and audio (right and left respectively in the 550's case). The control signal superimposes its spectrum on the audio signal, so if the control is a voice, the audio appears to be 'talking'. Another way of thinking of it is to imagine a graphic equaliser's sliders automatically responding to match the spectrum of a voice. The 550 has eight bands and therefore its 'intelligibility' (how clearly you can hear what's being said) is very good.
Talking instruments are very much a vocoder's forte, but there are plenty of other possibilities. For example, with a drum machine as a control signal, a synth pad becomes tuned percussion.
The RSP550's reverb algorithms sound much smoother, deeper, and less metallic than sub-£500 devices, though the tangible sense of space found on top flight units is not apparent — for that you'll still have to pay at least £3000. The delay and pitch shift algorithms benefit from the 21 kHz bandwidth, the Multi Stage Phaser and Stereo Flanger are brilliant, and the Vocoder is unique in this price range.
The MIDI control facility is also worthy of consideration, since it's so easy to set up, offers so many possibilities, and in most cases operates smoothly. As with all Roland gear, the manuals are exemplary.
On the down side, I sometimes yearned for the ability to roll my own algorithms, and the omission of a noise gate and compressor might raise an eyebrow or two. Guitar players will search in vain for the overdrive and distortion effects found on devices like the Boss SE50 and the new Yamaha FX900, but then the 550 isn't really designed for them.
At £750, the RSP550 is competing against the £599 Yamaha SPX1000, the £1100 Zoom 9010 and the £1000 Lexicon PCM70. Each has its own sound and combination of facilities, so if you're looking for a quality main reverb/delay unit it's well worth giving them all a listen before committing funds.
With the RSP550, Roland have utilised the power of the their latest generation of DSP chips to improve the realism and sound quality of individual programs and provide a wide range of effects. Quality and quantity is a rare combination at any price, and at £750 the RSP550 is currently unique.
FURTHER INFORMATION
£750 inc VAT.
Roland UK, (Contact Details).
| Inputs: | 2 (true stereo) |
| Outputs: | 2 |
| A-to-D and D-to-A conversion: | 16-bit linear |
| Sampling Frequency: | 48kHz |
| Frequency Response: | 15Hz to 21kHz |
| Dynamic Range: | 95dB (bypass on Thru DSP) |
| THD: | 0.02% |
| Input and Output Levels: | +4/-20dBm selectable |
| Memory: | 39 preset, 160 User |
| DSP Algorithms: | 39 |

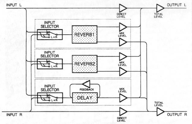
As you can see from the Hall 1 algorithm illustrated here, the RSP550 is a stereo in, stereo out device. In most cases this means that input panning is reflected at the output. If the input is a mono source, it should be connected to the left input.

All five are connected in series, but two further algorithms — Modulation Delay/Reverb and Reverb/Reverb/Delay — offer parallel configurations. This allows the RSP550 to be used as two independent mono in/stereo out effects as the diagram below illustrates. These last two algorithms scream for a 2 in/4 out design — but you can't have everything.
Review by Kendall Wrightson
mu:zines is the result of thousands of hours of effort, and will require many thousands more going forward to reach our goals of getting all this content online.
If you value this resource, you can support this project - it really helps!
New issues that have been donated or scanned for us this month.
All donations and support are gratefully appreciated - thank you.
Do you have any of these magazine issues?
If so, and you can donate, lend or scan them to help complete our archive, please get in touch via the Contribute page - thanks!